
BLOG
RSPC 施工流程

第一塊板的安裝
鎖扣安裝的優點是不需要膠水就可直接安裝。母榫面朝自己( 見圖1 ),在靠牆邊預留約5-8毫米的伸縮縫。

第一排第二塊板的安裝
將第二塊地板的短邊向上傾斜約30度左右,然後斜插入第一塊地板的短邊,並對齊落下( 見圖2 )。

裁剪成合適的尺寸
如果在第一排末端有需要的話,可以根據實際情況將其裁剪成合適的尺寸( 見圖3 )。請注意,應確保在牆面周圍保留正確的膨脹間隙,同時安裝的小塊地板的長度不可小於成品產品的寬度。

第二排地板的安裝
以將整片地板的一半長度裁切下來,作為第二排的起始塊。如果尺寸合適,也可以使用第一排裁切下來的地板作為起始塊。將它傾斜約30度左右,然後將長邊的公榫與第一排的長邊的母榫相結合( 見圖4 )。

角度斜插安裝
安裝時,將需要安裝的地板產品的短邊以約30度的角度斜插入已安裝的地板的短邊( 見圖5 )。

同時傾斜安裝
同時,將兩塊地板產品同時傾斜,沿著傾斜方向推入短邊連接處( 見圖6 ),同時將長邊斜插入第一排的母榫中。按照如上步驟完成鎖扣安裝。

最後一排適當的裁切
當鋪設至墻邊的最後一排時,請根據實際需要進行適當的裁切( 見圖7 )。請注意,應確保與牆面保留適當的膨脹間隙,同時裁切後的產品寬度不得小於標準產品寬度的1/2。

第二排地板的安裝
管線(突出地面的固定物 )在鋪設過程中遇到高出地板的固定物體時,應根據固定物體的形狀進行切割,同時留有一定的伸縮餘量( 見圖8 )。

檢查高低差及接縫
鋪設過程中檢查片與片之間的高低差及接縫,無明顯高低差(≤0.15mm),無明顯接縫( ≤ 0.15mm )。地板DIY安裝手冊
在較大的空間鋪設禾里家系列鎖扣地板時,如果鋪設的長度超過8米,應該考慮分區鋪設,並在不同區域的接合處使用壓條( 見圖9 )。

拆除方法及步驟
將需要拆除的地板傾斜30-45度,然後平行取出,按照如此步驟拆除長邊( 見圖10 )。

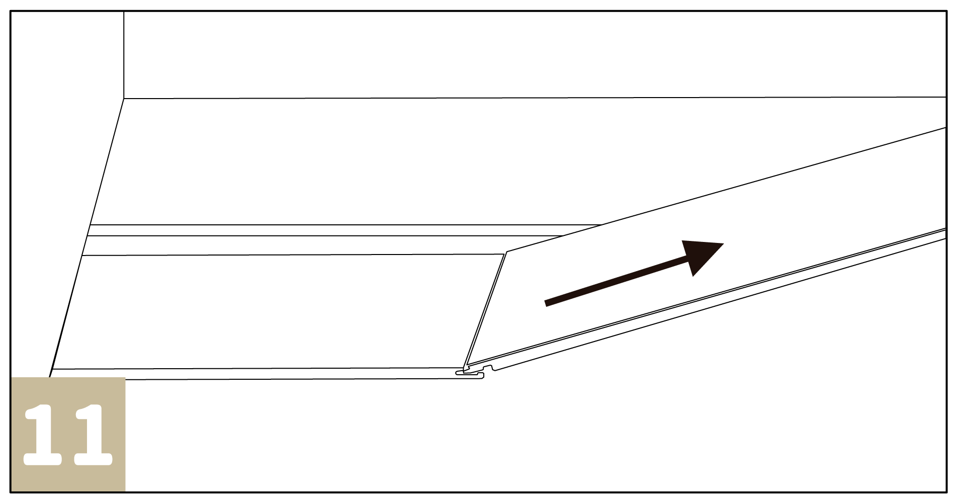
拆除方法及步驟
將拆除的地板之短邊扣型連接處相互反方向平行滑出即可完成拆除,切忌短邊拆除時不要強行拔出,要平行滑出,避免破壞扣型( 見圖11 )。
施工工具
捲尺、橡膠槌、墊板、美工刀
注意事項
鎖扣地板在鋪裝戶型方面有一定的要求,最好能夠進行矩形鋪設。當戶型複雜時,一定要進行區域分割和過橋處理,以避免應力不均勻造成地板脫扣的現象。